摘要:本文介绍了几种重型数控立车的典型主轴结构;并阐述了各种结构的不同特点及简要装配要点,同时分析了不同主轴结构的适用情况及优劣势。
关键词:重型数控立式车床主轴结构主轴轴承
1.引言
目前市场对装备制造业的要求是:更高的灵活性;更高的生产率;更高的精密度和表面质量;更短的制造周期来迎合市场。近年来,随着国内装备制造业的蓬勃发展,作为装备制造业母机的机床行业更显地位突出,为了适应各种工业企业的需求,机床制造商们纷纷推出高精度机床。
随着中国工业重型化进程的加快,越来越多的机床企业认识到重型机床领域的价值和商机,并准备逐渐加入到重大型机床的市场竞争中来,而且近年来随着数控机床产品高新技术功能部件的商品化,参与到重型机床市场开发的企业也越来越多。现在重型机床的发展趋势主要有以下几个方面:
·需求的机床承载能力越来越大;
·用户要求的机床回转直径越来越大;
·大回转直径,大承重量机床的高精度要求
主轴作为机床的核心部分,主轴的回转精度将直接反应至被加工零件的圆度、圆柱度、跳动等精度,而机床采用的主轴结构则会影响到机床的回转直径和工作台承载能力。
2.主轴结构分析
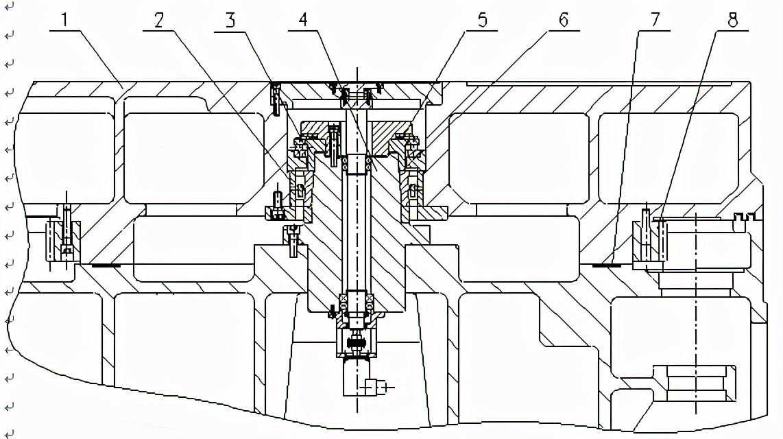
2.1典型结构一

图1典型结构一示意图
此结构中轴承布局由双列圆柱滚子轴承+圆锥滚子轴承+推力圆柱滚子轴承组成,双列圆柱滚子轴承+圆锥滚子轴承为主轴定心轴承,负责承载主轴的轴向力及径向力,其中圆锥滚子轴承为主支承,其内外环与主轴及轴承套的配合间隙将直接影响主轴的径向跳动及主轴刚性;推力圆柱滚子轴承主要承载工件的重量及在切削过程中加载至工作台上的切削力,轴承的紧环和松环与轴承套的上端面及主轴的下端面的配合将直接影响主轴的轴向跳动。
需注意,调整垫5是用来做轴承预紧力的,它的厚度需在装配过程中使用工装来测量,具体的预紧力值需根据切削力、主轴最高转速等条件确定;主轴轴颈及轴承套内孔应在加工时按照一定的配合间隙与定心轴承的内外环的尺寸匹配加工;轴承套与机床底座的结合面需在刮研,保证两个结合表面的平面度及结合率且保证平面与主轴轴线的垂直度。同理主轴下端面及轴承座上端面与推力圆柱滚子轴承紧环和松环的结合面也需刮研。
此结构中,轴承的润滑也是非常关键的,否则会引起一系列的问题:在高转速或高负载时会引起主轴中心的漂移或工作台的异常浮起,导致加工过程中精度不符。
2.2典型结构二

图2典型结构二示意图
结构二与结构一主要区别有以下几点:
(1).将结构一中主轴拆分为过渡盘2及主轴5,此种结构便于主轴的加工及检测同时还便于装配时的找正及刮研;
(2).主轴定心轴承结构为双列圆柱滚子轴承(圆锥孔)4+圆锥滚子轴承7,双列圆柱滚子轴承为主支承;由于双列圆柱滚子轴承的回转精度要好于圆锥滚子轴承,故此结构的主轴回转精度比结构一好;
(3).主轴轴承预载力通过锁紧螺母8施加,同时主轴轴承预载力的施加比结构一要简单,便于装配调整;
此结构其余环节与结构一类似。
2.3典型结构三
图3典型结构三示意图
此结构主轴由双列圆柱滚子轴承(圆锥孔)+推力球轴承+推力圆柱滚子轴承组成,前两个轴承组合为定心轴承,负责承载主轴的轴向力及径向力,其中双列圆柱滚子轴承(圆锥孔)为主支承;推力圆柱滚子轴承主要承载工件的重量及在切削过程中加载至工作台上的切削力。
此结构主轴预载力通过配磨法兰盘5的下端面实现,主轴上端的蝶型弹簧可以有效地降低主轴振动对主轴端面跳动的影响;且主轴定心轴承及承重轴承不经过过渡盘或主轴套直接与工作台配合,极大地降低了其加工和装配的难度,同时提高了回转精度,使主轴的整体刚性更大。
2.4典型结构四
图4典型结构四示意图
结构四是一种颠覆以往任何一种重型立车主轴的结构,本结构最早是我厂与德国FAG公司联合设计的一种新型重型立车结构;它由角接触球轴承定心,推力球轴承承载,由于轴承的滚动体为球,故此种结构的回转精度和转速要远远高于上述三种主轴结构。
装配过程中用调整垫4做轴承预紧力,其厚度需在装配过程中使用工装来测量,具体的预紧力值需根据切削力、主轴最高转速等条件确定,调整垫厚度的测量要远远比结构一简单;主轴轴颈及轴承支座内孔应在加工时按照一定的配合间隙与定心轴承的内外环的尺寸匹配加工;轴承支座与推力球轴承接触的下端面及机床底座与推力球轴承接触的上端面需在装配过程中刮研,保证各平面的平面度及接触率,同时保证端面与主轴轴线的垂直。
另,角接触球轴承与轴承支座内孔的配合需在加工时按照角接触球轴承外环实际尺寸取一定的配合间隙(或过盈)加工,其间隙值和过盈值需根据具体情况设定;其中轴承支座的内孔加工需特别注意,否则将影响主轴的回转精度和主轴的刚性。
2.5典型结构五
图5典型结构五示意图
结构五是目前欧美及日韩较为流行的一种新型重型立车的主轴结构,它用一颗圆锥交叉滚子轴承代替了传统的2-3颗轴承的结构,这颗圆锥交叉滚子轴承既定心又轴承工作载荷,上内环、下内环、外环及相关的主轴、齿圈通过加热或冰冻的方式达到较大的过盈量,来保证主轴的回转精度及承载能力。
结构五有以下几个特点:(1).以更小的装配空间,具有更高的精度及刚性的特性,(2).立车主轴的转盘设计更为简单,(3).有效降低装配高度进而降低整体重心的高度,同时减轻转盘主轴结构的重量,(4).具高抗翻倾扭矩性能,(5).主轴的动静刚性大。
但此种结构由于与圆锥交叉滚子轴承内外环配合的部位均要求过盈配合,故在装配过程中需要加热感应圈或加热油箱;同时还需制作测定相关回转部件的启动力矩的工装,装配过程相对繁琐一些。固定圆锥交叉滚子轴承内外环的上下压板螺钉均需按照轴承给定的螺钉尺寸,同时还需保证恒定的锁紧力矩。
2.6典型结构六
图6典型结构六示意图
此结构主轴由双列圆柱滚子轴承(圆锥孔)+推力球轴承+静压平面轴承组成,前两个轴承组合为定心轴承,负责承载主轴的轴向力及径向力,其中双列圆柱滚子轴承(圆锥孔)为主支承;静压平面轴承主要承载工件的重量及在切削过程中加载至工作台上的切削力。
此结构主轴的装配方式及预载和结构三相同;静压腔均匀的分布在以主轴中心为轴线的平面内,以扇形结构布置,按照工作台直径及承载力计算静压腔的数量、面积及静压油的压力,其特点是运转平稳、摩擦力小、无磨损,同时工作台台面的平面度高。需注意的是防止静压油的泄漏,后期的维修相对繁琐。
3.主轴结构适用范围
一般情况下结构一及结构二工作台直径不超过φ2000mm,最大工件重量不超过10000kg,主轴转速不超过400rpm,结构二较结构一会合理一些;结构三,总体来说结构更加合理,一般使用在工作台直径不超过φ3150mm,最大工件重量不超过20000kg,主轴转速不超过250rpm;以上三种结构是重型立车比较传统的结构,国内外多数制造商基本上都会有较为类似的结构。
结构四是一种新型结构,随着大规格的推力球轴承技术的突破,越来越多的应用在重型立车上,其工作台直径可达到φ4000mm,最大工件重量不超过35000kg,主轴转速最高可达到600rpm,由于其转速可达到较高的水平所以较适合高速高精加工;结构五是近两年流行的新结构,多年前此种结构已经出现在欧美的重型立车上了,但由于当时圆锥滚子轴承的承载力虽然较大,但其极限转速并未提到较高的水平,所以当时的应用是有一定的局限性的,近几年随着圆锥交叉滚子轴承制造商的技术已经突破了极限转速的瓶颈,所以被越来越多的重型立车制造商所钟爱,其工作台直径可达到φ4500mm,最大工件重量不超过40000kg,主轴转速最高可达到500rpm。
结构六一般应用工作台直径φ4000mm以上,最大工件重量50000kg以上,当然本结构也可使用在低于上述两个条件的情况下,但由于后期的维护、保养及维修较为繁琐,一般工作台直径不太大或工件重量不大的情况下,用户较少选择此种结构。
上一段落阐述的工作台转速及最大工件重量与具体选用的轴承品牌、轴承型号及轴承的润滑有很大的关系,不可盲目的根据上一段落简单对号入座;关于轴承的润滑不止与工作台的转速有关,还与工作台的浮起有很大的关系,所以在具体设计过程中应充分考虑润滑油的流量、润滑的管路、主轴部件的热对称性及润滑油的温度控制等因素。
4.结语
上述六种结构各有特点,适用的范围不尽相同(可能会有重叠),主要根据工作台的直径、工作台的承载能力、每个制造商的加工装配能力、主轴结构部件的物料成本占设备总物料成本的比例等方面取舍,尤其应该考虑在不同的切削条件下(比如连续切削或断续切削、被加工零件是否有偏载的情况等),酌情选择合适的主轴结构。